>>トップページ >>ドアクローザー/フロアヒンジ >>[LAMP] ラプコンクローザー(平座付)

ドアクローザー
  • [LAMP] ラプコンクローザー(平座付)
・ストッパー付
ランプ ドアチェック LDC-N2シリーズ
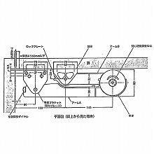
■パラレル取付用(外開きドアの内側付用)

・適用ドアー寸法:900mm×2100mm (適用ドアー重量:15〜45Kg)

LINE

26-302-1
[スガツネ] ラプコンクローザー(平座付)
・LDC-N21SSL
在庫限り

1台
13,900円(税別)
(税込 15,290円)
消費税について

購入数:

26-302-2
[スガツネ] ラプコンクローザー(平座付)
・LDC-N21SGL
在庫限り

1台
13,900円(税別)
(税込 15,290円)
消費税について

購入数: